Tùng Lâm là doanh nghiệp có bề dày kinh nghiệm trong lĩnh vực phân phối Van Công Nghiệp có thị trường khách hàng thân thuộc, có sản phẩm chiến lược và có dich vụ chăm sóc khách hàng chuyên nghiệp tận tình chính điều này đã khẳng định vị thế của Tùng Lâm trên thị trường.
Chúng tôi vinh dự là nhà cung cấp uy tín cho các sản phẩm chất lượng của các thương hiệu nổi tiếng với nhiều chính sách hỗ trợ từ nhà sản xuất vì đây là cơ sở để chúng tôi phát triển về mảng phân phối van công nghiệp tại Việt Nam và một số nước trong khu vực.
1. Van 1 chiều là gì?
Van 1 chiều là thiết bị bảo vệ đường ống dẫn cho phép dòng chất lỏng, khí đi qua theo 1 hướng nhất định và ngăn cản dòng theo hướng ngược lại. Van 1 chiều được sử dụng để bảo vệ các thiết bị của mạch thủy lực như ống dẫn, máy bơm, bình chứa...Ngoài ra van 1 chiều còn có tác dụng ngăn ngừa sự mất mát chất lỏng - khí khi có sự cố rò rỉ hỏng hóc ống dẫn.


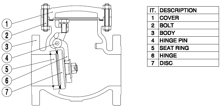
2.Cấu tạo van 1 chiều.

Hình ảnh mặt cắt về van 1 chiều.
1. nắp đậy được làm từ các vật liệu theo thân van như: gang, thép, inox.
2. chốt thuộc bulong thép không rỉ;
3. thân van được làm bằng gang, thép, inox;
4. chốt đinh bi làm bằng thép không rỉ;
5. vòng đệm làm bằng cao su có tác dụng làm kín và giảm âm thanh;
6. chốt đĩa làm bằng thép không rỉ;
7. đĩa van làm bằng gang, thép, inox;
3. Phân loại các loại van 1 chiều.
a) Van 1 chiều lá lật.

loại này chỉ có 1 phần chuyển động là cửa van gắn liền với thân van bởi 1 trục bản lề. Cửa van tự do di chuyển. Khi không có dòng chảy đi qua thì van ở trạng thái đóng do khối lượng của nó. Điều này ngăn cản cho chất lỏng không chảy ngược lại.
b) Van 1 chiều cối

Là 1 trong những dạng van 1 chiều tuy nhiên thiết kế của van có 1 đĩa làm kín chịu lực nén của lò xo, khi môi chất chảy qua van thắng được lực lò xo thì dòng lưu chất sẽ qua van. Van này cũng cho lưu chất đi qua theo đúng 1 chiều nhất định.
c) Van 1 chiều lò xo.

Hay còn gọi là van 1 chiều đĩa lò xo. Đĩa van được gắn lò xo trong thân van. Khi dòng lưu chất đi qua van từ cửa vào, lực đẩy dòng lưu chất .
d) Van 1 chiều cánh bướm.

Van bướm 1 chiều hay còn goijlaf van 1 chiều cánh bướm là laoij van đóng mở nhờ bộ phận cánh van; cánh van có dạng cánh bướm có thiết kế nhằm giảm thiểu va chạm thủy lực. Loại van này chỉ cho phép dòng lưu chất chảy qua theo một hướng nhất định, không cho phép dòng lưu chất chảy ngược trong hệ thống ống dẫn. Van bướm 1 chiều được ứng dụng nhằm bảo vệ đường ống dẫn, các thiết bị bơm, khoang chứa...,ngoài ra còn có tác dụng điều chỉnh hướng, kiểm soát dòng chảy của lưu chất.
4. Ứng dụng của van 1 chiều.
Van 1 chiều được ứng dụng rộng rãi trong các hệ thống từ dân dụng đến hệ thống sản xuất công nghiệp như: hệ thống cấp nước nhà cao tầng, nhà xưởng công nghiệp, hệ thống thông gió, chữa cháy, điều hòa không khí, xử lý nước thải...
Hiện nay Tùng Lâm đang nhập khẩu số lượng lớn van thương hiệu uy tín.
- Sẵn sàng đáp ứng mọi nhu cầu khắt khe của khách hàng;
- Hàng luôn sẵn có và đảm bảo;
- Bảo hành 12 tháng theo cơ chế 1 đổi 1;
- Đảm bảo hàng chính hãng có đầy đủ chứng từ xuất sứ, chất lượng CO,CQ;
- Giao hàng nhanh;
- Thanh toán linh động;
Bạn cần tư vấn những thông tin gì về van hay các loại van công nghiệp khác hãy liên hệ tới công ty TNHH Tùng Lâm để được giải đáp mọi thắc mắc và báo giá tốt nhất, mua hàng chính hãng giá rẻ cùng với các dịch vụ ưu đãi.
******************************************************************************************************
Thông tin xin liên hệ
Công ty TNHH Tùng Lâm
Địa chỉ: số 64 ngõ 885 đường Tam Trinh .P Yên Sở. Q Hoàng Mai, Hà Nội;
Hotline: 02462 92 94 96- 02436.462.588
Di động: 0916.769.856 - 0972.609.736
Email: tunglam.industrial@gmail.com




Viết bình luận